Search for Crane Part number

(click on image to open PDF document)
Figures in which the part appears:
Also known as:
34310899, 034310899, 0034310899
34310899, 034310899, 0034310899
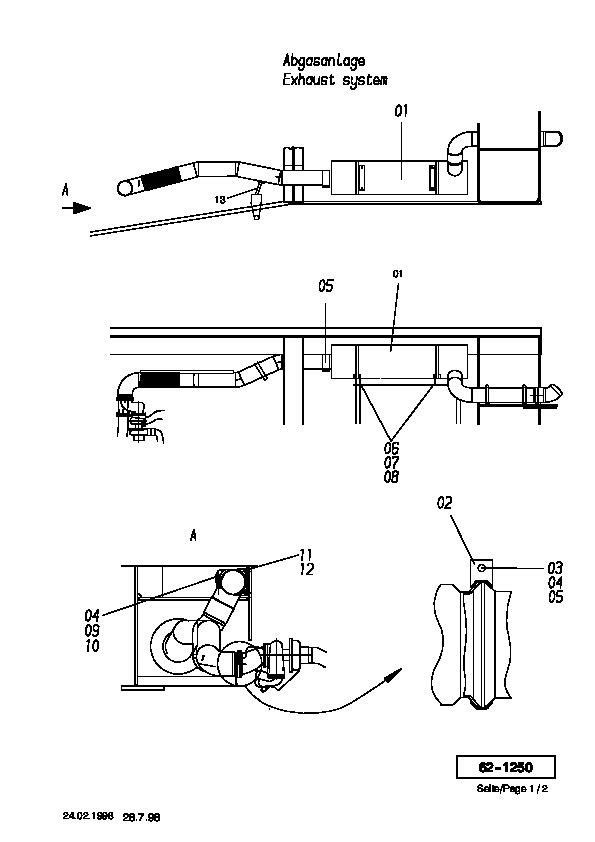
Parts for Demag CC 2800, Figure 62-1250:
Part Number 34310899: SPRING WASHER
Part Number 34310899: SPRING WASHER
Pos nr | Part number | Description |
---|---|---|
2 | 00039112 | CLAMP |
3 | 34310899 | SPRING WASHER |
4 | 50987098 | NUT ED 51116298 |
5 | 30795099 | SCREW |
6 | 12519799 | SCREW |
7 | 33467099 | NUT |
8 | 51031498 | WASHER |
9 | 49079140 | CLAMP |
10 | 50994098 | SCREW |
11 | 50404398 | HEX SCREW |
12 | 51172498 | WASHER |
13 | 10563712 | HALTEBLECH |
* Selected parts are automatically added to your RFQ list *
Your request list: