Search for Crane Part number
(click on image to open PDF document)
Figures in which the part appears:
Also known as:
41153012, 041153012, 0041153012
41153012, 041153012, 0041153012
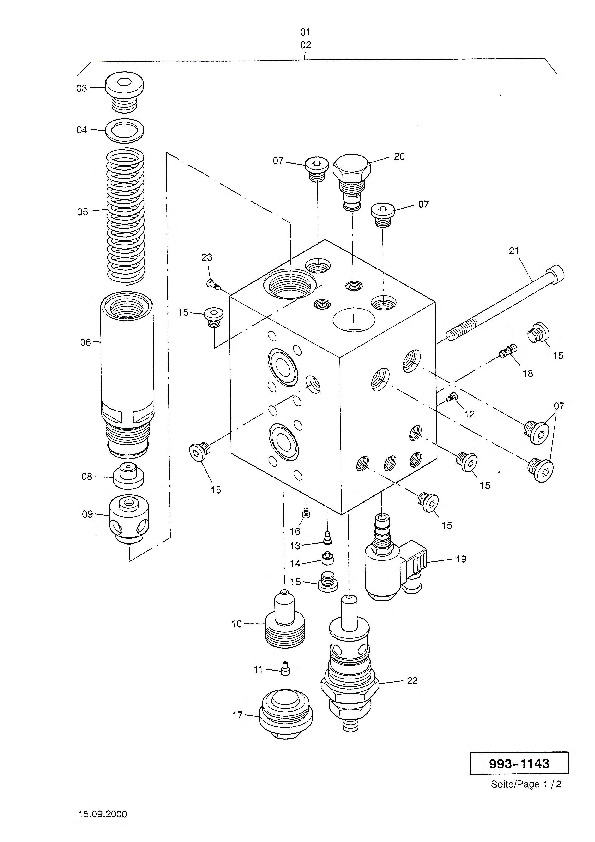
Parts for Demag AC 100, Figure 993-1143:
Part Number 41153012: DIRECTIONAL SPOOL VALVE
Part Number 41153012: DIRECTIONAL SPOOL VALVE
* Selected parts are automatically added to your RFQ list *
Your request list:


